| Главная страница ДонНТУ | Страница магистров ДонНТУ | Поисковая система ДонНТУ | |||||||
| Контакт | Руководитель научной работы | Ссылки |
| Библиотека | Автобиография | Результаты поиска |
Хохуля А В
магистра горно - геологического факультета
Руководитель - д.т.н. Калиниченко Олег Иванович
АВТОРЕФЕРАТ
НАИМЕНОВАНИЕ И ОБЛАСТЬ ПРИМЕНЕНИЯ
Погружная гидровибрационная установка предназначена для бурения на глубину до 8 м и диаметром 130 мм в породах I-IV категорий по буримости при поисках и разведке подводных месторождений строительных материалов, морских россыпных месторождений различных полезных ископаемых, инженерно-геологических исследованиях на море и других водоемах при глубине воды до 50 м со среднетоннажных и малотоннажных буровых судов. Присвоить установке наименование "Установка гидровибрационная погружная ".
ЦЕЛЬ И НАЗНАЧЕНИЕ РАЗРАБОТКИ
Цель создания морского пробоотборника для бурения скважин глубиной 50 м по рыхлым донным отложениям I-IV категорий с прослоями пород до VI категорий по буримости со среднетоннажных буровых судов.
НОВЫЕ ТЕХНИЧЕСКИЕ СРЕДСТВА И ТЕХНОЛОГИЯ ПОИНТЕРВАЛЬНОГО БУРЕНИЯ ГЛУБОКИХ ИНЖЕНЕРНО-ГЕОЛОГИЧЕСКИХ СКВАЖИН НА ШЕЛЬФЕ
Освоение нефтяных и газовых
месторождений шельфа требует проведения детальных инженерно-геологических
изысканий, необходимых для сооружения морских буровых платформ и прокладки
подводных трубопроводов. Важнейшей составной частью изысканий являются
буровые работы, результаты которых дают возможность правильно
интерпретировать информацию, полученную при геофизических исследованиях
дна, и, в конечном итоге, определить геологическое строение осваиваемого
участка шельфа. Буровые работы включают бурение мелких скважин глубиной
4-6 м (пробоотбор) и бурение инженерно-геологических скважин, глубина
которых определяется условиями залегания пород минерального дна, скрытого
под отложениями неустойчивых пород (илы, пески и т.д.), и обычно не
превышает 25-30 м.

Схема работы установки многорейсового
бурения:
Для реализации предложенной технологии многорейсового бурения было решено использовать погружную гидроударную установку однорейсового бурения УГВП-130/8М, используемую при проведении пробоотбора. В состав установки входит гидроударный буровой снаряд установки УГВП-130/8 и рамная опора, аналогичная опоре установки ПУВБ-150.
Погружные установки.
Погружные установки для однорейсового бурения подводных скважин при гдубине моря до 100 м являются уникальными устройствами благодаря следующим преимуществам:
Установки широко и эффективно
применяются при изысканиях на шельфе Черного моря (Крымская и
Причерноморская поисковосъемочные экспедиции) и шельфе морей Крайнего
Севера (Арктическая морская инженерно-геологическая экспедиция) и Дальнего
Востока (Дальне-Восточная морская инженерно-геологическая экспедиция) и
др.
Установки гидровибрационные погружные
(УГВП) предназначены для однорейсового бурения скважин в грунтах
песчано-глинистого комплекса с прослоями твердых пород и по
валунно-галечным отложениям. Применяются с судов малого водоизмещения, у
которых высота грузоподъемной стрелы не обеспечивает подъем длинной
установки над бортом. УГВП состоят из стабилизирующей самораскрывающейся и
самоскладывающейся опоры, бурового снаряда (гидроударник и керноприемник)
и комплекса вспомагательного оборудования для удержания опоры за бортом
судна и переноса бурового снаряда через борт в горизонтальном положении.
Погружение керноприемника в грунт происходит под действием четырех
факторов: ударов, вибрации, размыва по внешней стороне бурового снаряда и
безынерционной нагрузки. гидроударник в нижней части снабжен насосным
блоком для создания обратной промывки в керноприемной трубе, что
обеспечивает увеличение рейсовой углубки и сохранение структуры кернового
материала.
![]() |
Технические характеристики УГВП
| ||||||||
Предназначена для однорейсового бурения скважин в мягких породах песчано-глинистого комплекса. Применяется на судах, имеющих грузоподъемные системы для подъема над бортом на высоту не менее 6 м. Состоит из опоры, включающей раму, направляющие стойки и подвижную каретку, и бурового снаряда, в который входит гидроударник и керноприемник.
![]() |
Техническая характеристика ПУВБ-150
|
Предназначена для вращательного однорейсового бурения в породах средней твердости. Состоит из поршневого гидродвигателя и винтового редуктора для преобразования поступательного перемещения штока во вращательное движение шпинделя и связанного с ним колонкового набора.
Техническая характеристика ПГВУ-132/6
|
Предназначен для отбора проб в мягких и рыхлых породах песчано-глинистого комплекса и улавливания находящегося в породах газа с целью определения его качественного состава. Применяется при гидроударном и вращательном бурении с одинарной и двойной колонковой трубой.
|
Параметры |
|
| Диаметр бурения, мм Глубина бурения за рейс, м Диаметр керна, мм Выход керна, % Объем казокернонаборной камеры, см3 Длина установки, мм Масса установки, кг |
112 около 1 м 75 более 80 1300 1630 около 35 |
ОБЩАЯ ХАРАКТЕРИСТИКА РАБОТЫ.
Создание гидроударных буровых снарядов с повышенной рейсовой углубкой (до 50 м), в которых дополнительно обеспечивается размыв стенок скважины, создающий условия, при которых погружение и извлечение погружной буровой снаряд (ПБС) производится без влияния усилий трения по внешней поверхности двойного колонкового набора.
Установка УМБ-130 относится к классу легких технических средств, эксплуатирующихся с борта плавсредства среднего водоизмещения. Впервые в практике морского бурового производства установка такого класса обеспечивает бурение скважин глубиной до 50м без спуска водоотделяющих колонн и закрепления скважины обсадными трубами. Благодаря гибкой связи агрегата и плавсредства, эксплуатация УМБ допускает возможность ограниченного дрейфа бурового судна, что исключает необходимость жесткой стабилизации бурового судна над устьем скважины и значительно уменьшает непроизводительное время, связанное с постановкой судна на якоря.
Для реализации процесса проходки скважин используется ограниченный перечень оборудования: буровой насос, обеспечивающий подачу не менее 450 л/мин и давление 3,5 - 4,5 МПа; штатная грузовая стрела и лебедка грузоподъемностью не менее 25 кН; вспомогательная лебедка грузоподъемностью не менее 10 кН. Исключение из перечня традиционного бурового агрегата такого энергоемкого и габаритного оборудования как буровая вышка, буровой станок, емкости для приготовления, хранения и очистки бурового раствора, бурильные трубы, труборазворот и др., позволяет эксплуатировать УМБ-130 с неспециализированных буровых судов.
Основным элементом установки является многофункциональный погружной буровой снаряд (ПБС) (рис.1)
Техническая характеристика гидроударного бурового снаряда
| Наименование | Значение параметра |
| Гидроударный механизм Габариты: - наружный диаметр - длина - масса Рабочая характеристика: - расход жидкости - давление на привод - частота ударов - энергия удара - мощность на привод Колонковый набор (комплекты) Наружная труба: - диаметр (наружный / внутренний), мм - длина, мм Внутренняя керноприемная труба: - диаметр (наружный / внутренний), мм - длина, мм Башмак режущий - диаметр (наружный / внутренний), мм - угол приострения, Кернорватель Пусковой узел: - верхний - нижний |
Гидроударник дифференциального
действия 127 мм 2300 мм 160 кг 230 - 250 л/мин 2 - 4 МПа 20 - 25 Гц 80 - 110 Дж 8-15 кВт Двойная колонковая труба 127/117 4250, 5250, 6250 108/98 4000, 5000, 6000 130/94 30о Лепесткового типа Поршневой, с фиксированным положением и принудительным управлением давлением жидкости Клапанно-золотникового типа с оперативным управлением скоростным напором жидкости |

а)
б)
Рис. 1 – Состав и схема гидроударного
бурового снаряда и схема распределения жидкости: а) – в режиме гидроразмыва
осадков; б) – в режиме отбора керна; 1 – гидроударник; 2 – насосный блок; 3 –
колонковый набор; 4 – верхний пусковой узел; 5 – нижний пусковой узел; 6 –
башмак; 7 - кернорватель
Подготовка установки к работе.
После выполнения монтажа направляющих канатов штатной судовой стрелой опора
выносится за борт плавсредства и опускается на 4-5 м ниже планшира
фальшборта. Вспомогательной лебедкой производится натяжение тросовой обвязки
опоры, после чего она освобождается от каната штатной грузовой
стрелы.
Затем осуществляется постановка опоры на дно
с помощью вспомогательной лебедки. Эта операция обеспечивается за счет
«стравливания» троса вспомогательной лебедки (рис.2). После касания основанием
опоры дна начинает опускаться компенсирующий груз 5 (рис. 2), предварительно
закрепленный на конце направляющего каната 1 и пропущенный через ролик 2
грузовой Г-образной опоры . Благодаря компенсирующему грузу направляющие
канаты в процессе работы постоянно находятся в натянутом положении. После
постановки опоры на дно производится монтаж направляющего хомута 3 и площадки с
выдвижными рычагами 4 для фиксации хомута 3 на уровне борта
.
Порядок работы. Буровой снаряд при
помощи грузовой лебедки поднимается в вертикальное положение и при помощи
штатной грузовой стрелы выносится за борт судна. Производится проверка работы
гидроударника. Его стабильная работа должна наблюдаться при расходе жидкости на
30-40% ниже, чем установленный для гидромониторного размыва
пород.
Далее буровой снаряд фиксируется в хомуте 3,
расположенном на выдвижных рычагах 4 . При перемещении выдвижных рычагов
к борту буровой снаряд вместе с хомутом получает возможность свободного спуска
вниз (рис.2) с одновременным центрированием относительно оси патрубка опоры
(дополнительное направление буровому снаряду обеспечивает воронка опоры). При
контакте с воронкой хомут останавливается, а снаряд продолжает перемещение вниз
до встречи с дном.

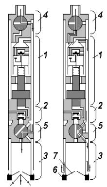
Рис.2 - Схема работы установки УМБ-130
а) спуск бурового
снаряда; б) проходка первого интервала скважины; в) – проходка последующих
интервалов скважины; 1 – канифас-блок, устанавливаемый на грузовой стреле; 2 –
шланг; 3 –блоки направляющего каната; 4 – ролик компенсирующего груза; 5 –
компенсирующий груз; 6 -направляющие канаты; 7 – погружной буровой снаряд; 8 –
хомут; 9 – основание опоры; 10 – короткая обсадная (направляющая) труба; 11 –
скобы для соединения каната и шланга
При достижении дна открывается задвижка
на линии слива и включается буровой насос. Выбирается слабина грузового троса
для последующего контроля заглубления. С помощью задвижки устанавливаются
номинальные параметры привода гидроударника (табл. 2). В режиме эффективной
работы гидроударника производится отбор кернового материала с первого интервала
скважины. При этом отработанная в гидроударнике жидкость направляется по
кольцевым зазорам бурового снаряда и выходит через отверстия над башмаком
(рис.1, б), обеспечивая размыв стенок скважины, что облегчает процесс извлечения
бурового снаряда.
Скорость бурения и величина
заглубления колонкового набора в грунт контролируется визуально по смотанной
длине троса по меткам, предварительно нанесенным на
трос.
После окончания рейса буровой насос
отключается, и снаряд вместе с хомутом поднимается вверх. Хомут фиксируется на
выдвижных рычагах. Открытием полустворки хомута буровой снаряд освобождается и с
помощью грузовой стрелы и буровой лебедки перемещается на рабочую палубу. В
дальнейшем буровой снаряд укладывается горизонтально на палубе на деревянные
подставки; отвинчивается башмак и производится извлечение
керна.
Для бурения последующего интервала скважины
производится перезарядка верхнего пускового узла (положение верхнего пускового
узла по рис.1, а) и выполняется спуск бурового снаряда в вышеизложенной
последовательности. Ранее пробуренный участок скважины проходится в режиме
размыва (очистки) ствола скважины от обрушенной породы (рис.2). При этом
изменением подачи бурового насоса производится включение нижнего пускового узла
с обеспечением прохода жидкости внутрь керноприемной трубы (рис.1,
а).
На глубине отбора керна снижается подача насоса
до нуля, нижний пусковой узел выключается, его каналы устанавливают проход
жидкости, соответствующий режиму бурения (рис.1,б). Оперативно с помощью
питателя в нагнетательный трубопровод сбрасывается шарик, который при давлении в
трубопроводе 2-2,5 МПа принудительно изменяет положение каналов верхнего
пускового узла (положение верхнего пускового узла по рис.1, б) и производится
запуск гидроударника.
Цикл дальнейших операций по
отбору проб донных отложений аналогичен
вышеприведенному.
В нештатной ситуации, при
значительном смещении плавсредства от точки пробоотбора, стабилизирующая опора с
помощью вспомогательной лебедки смещается на новую точку. В этом случае
производится размыв осадков с нулевой отметки скважины до интервала опробования
(по рис.5,в).
При глубине отбора проб, превышающей
уровень входа верхнего переходника бурового снаряда в воронку опоры, канат и
грузовой шланг соединяются скобами 11, выполненными из тонкого капронового
каната.
Средняя рейсовая скорость бурения скважины
глубиной 35 м составляет не менее 2,2 м/ч (без учета времени на постановку
бурового судна на точку бурения).
По окончании каждого процесса отбора
керна на отдельных интервалах, буровой снаряд вместе с опорой извлекается из
скважины. В процессе подъема опорное кольцо 6 упирается во внутреннюю
поверхность направляющего раструба каретки 5, обеспечивая совместное перемещение
бурового снаряда и каретки до упора втулок каретки в приливы направляющих стоек.
После чего происходит совместный подъем элементов установки («буровой
снаряд–стабилизирующая опора») на высоту, достаточную для размещения ее с
помощью грузовой стрелы на рабочей площадке палубы. В дальнейшем нижняя часть
бурового снаряда освобождается из основания опоры. Благодаря поворотной каретке
буровой снаряд с помощью лебедки переводится в горизонтальное положение,
размещаясь на палубных подставках. Отсоединяя башмак, извлекают внутреннюю
колонковую трубу и переносят её к месту извлечения керна. Керн извлекается и
укладывается в керновые ящики или специальные
желоба.
ВЫВОД
Новая технология многорейсового бурения скважин
с использованием установок серии УМБ-130 позволяет исключить использование
бурильных и обсадных труб, глинистых и специальных растворов для промывки
скважин. При проходке скважин допускается возможность частичного дрейфа бурового
судна относительно точки бурения. Технические характеристики установок позволяют
использовать их на судах и плавсредствах различного типа с достаточным
энергетическим обеспечением, оборудованных соответствующими грузоподъемными
механизмами и имеющими возможность постановки кормового якоря.
Литература
1.Забойные винтовые двигатели для бурения /М.Т. Гусман, Д.Ф. Валденко, А.М. Кочнев, С.С. Никомаров. - М.: Недра, 1981.
2. Ильский А.Л., Шмидт А.П. Буровые машины и механизмы. - М.: Недра, 1989.
3. Качан В.Г., Купчинский И.А. Бурение шахтных стволов и скважин.- М.: Недра, 1984.
4.Султанов Б.З., Шаммасов Н.Х. Забойные буровые машины и инструмент.- М.: Недра, 1976.
5. Калініченко О.І., Каракозов А.А. Вибійні бурові машині. Учбовий посібник. - Донецьк : "Новый мир", 1998. - 116 с.
6. Ясов В.Г. Погружные гидравлические буровые машины. Учебное пособие. Днепропетровск, 1974.
7. Калиниченко О.И. Основные положение теории гидроударников прямого действия //Збірник наукових праць ДонДТУ. Серія гірничо-геологічна. - Донецьк (ДонДТУ), 2001. №24.- С.29-35
8. Калиниченко О.И. К вопросу повышения эффективной мощности гидроударных машин //Проблемы научно-технического прогресса в бурении геол. разв. скважин. Сборник докладов НТК. - Томск, 1991. - С.111-115.
9. Калініченко О.І., Каракозов А.А. Вибійні бурові машини. Учбовий посібник. - Донецьк: ДонДТУ, 1997. - 125 с.
10. Калиниченко О.И., Каракозов А.А., Зыбинский П.В. Новые технические способы и технология поинтервального бурения скважин на шельфе. //Збірник наукових праць ДонДТУ. Серія гірничо-геологічна. - Донецьк (ДонДТУ), 2001. - № 36. - С.144-148.
11. Калиниченко О.И., Квашин Е.В., Васин И.Д. О влиянии инерционных свойств жидкости на динамику поршня гидровибрационного пробоотборника //Совершенствование техники и технологии геол. разв. работ. Межвуз. науч. темат. сб. - Свердловск, 1990, - С.48-54.
12. Калініченко О.І., Русанов В.А. Аналіз етапу робіт по підвищенню рейсової проходки і збереженню кернового матеріалу при бурінні підводних свердловин //Збірник .наукових праць НГА України. - Дніпропетровськ, 1998. - Вып. 3, тому 2. - С.247-252.
13. Калиниченко О.И., Русанов В.А. Влияние условий работы насосного блока установки УГВП-130/8 на энергетические параметры погружателя //Науковий вісник НГА України. - Дніпропетровськ, 2000. - №. 3. - С.81-85.
14. Калиниченко О.И., Русанов В.А. Разработка и опытно-промышленные испытания технологических режимов ударно-вибрационного бурения донных отложений //Сборник научных работ НГА Украины. -Днепропетровск, 1998. - Вып. 6, том. 4. - С.32-36.
При Вашей заинтересованности кафедра ТТГР ДонНТУ совместно с ЗАО «Компания «Юговостокгаз» предлагает:
E-mail просим направлять заведующему кафедрой ТТГР ДонНТУ
Каракозову А.А. по адресу:
| Контакт | Руководитель научной работы | Ссылки |
| Библиотека | Автобиография | Результаты поиска |