| Ссылки | Автобиография | Электронная библиотека | ДонНТУ | Магистратура ДонНТУ | Отчет о поиске | Индивидуальное задание |
Шевельский Александр Юрьевич
    1.Общие сведения по теме
    2.Обзорная информация
    3.Заключительная информация
    Выводы
    Перечень ссылок
1 ОБЩИЕ СВЕДЕНИЯ ПО ТЕМЕ
Роль автоматизации шахтного конвейерного транспорта заключается в снижении трудоемкости обслуживания, высвобождении занятых на подземном транспорте работников, а также в повышении безопасности и снижении травматизма. Последнее достигается введением необходимых защит и блокировок, расширением информационных возможностей аппаратуры автоматизации. Кроме того, средству автоматизации должны способствовать снижение енерго- и материалоёмкости, сокращение простоев через выход из строя электрооборудования, контроля технологических параметров которые могут привести к созданию пожаробезопасной ситуации в шахте .
Анализ пожаров в шахтах на ленточных конвейерах показывает что загорание конвейерних лент возможно от двух групп источников возгорания [1]: внешних источников, которые образуются при загорании шахтного деревянного крепления, угля или других горючих предметов, когда в зоне горения находится конвейер и источников конвейеров, которые образуются при работе последних, в основном от трения ленты на барабанах конвейеров, неисправных роликоопорах и др.
Все эти проблемы могут быть решены только в случае использования принципиально новых технических средств и решений в схемах аппаратуры автоматизации - микропроцессоров, математического программного обеспечения. За рубежом, где практически все средства и системы автоматизации для шахт создаются на базе микроконтроллеров, производительность труда подземных рабочих выросла на 20 %, а нагрузка на лаву на 40 %. Объясняется это тем, что гибкость микропроцессорных систем обеспечивает кардинальное расширение функциональных возможностей аппарата, особенно в части информации, что служит повышению уровня организации производства, бесперебойности работы машин, повышению безопасности.
За последние годы проведенный ряд робот по усовершенствованию серийных изделий, перевода их на новую элементную базу и повышению эффективности использования. К таким серийным изделиям относятся: комплекс АУК.2М [2], аппарат КС.1М, датчик ДМ-3, выключатели ВКА, устройство УКТЛ. Но не смотря на введения новейших разработок на шахтах постоянно регистрируются случаи пожаров на ленточных конвейерах, особенно связанные с загоранием конвейерних лент через пробуксовку в местах связи с приводным барабаном. Поэтому актуальной есть задание оперативного контроля температуры приводных барабанов ленточных конвейеров шахты. При этом необходимо создать такое устройство, которое было бы концентратором информации о тепловом режиме работы ленточных конвейеров, как мест опаснейших по возникновении очага пожара. В связи с развитием технологий создания бесконтактных датчиков температуры, современная промышленность имеет в своем распоряжении возможность создать такое устройство.
Следовательно, целью данной работы является обеспечение эффективной работы шахтных магистральных (стационарных) конвейерных линий за счет контроля температуры приводных барабанов и натяжением конвейерной ленты.
Рассмотрим существующие на данный момент решения автоматизации работы и защиты от аварийных ситуаций шахтных ленточных конвейеров. Номенклатура подобных средств автоматизации представлена достаточно широко:
комплексы автоматизированного управления конвейерными линиями типа АУК.1М и АУК.2М;
устройство контроля проскальзывания и скорости ленты УКПС;
устройство контроля скорости УКС;
устройство контроля состояния тросовой основы конвейерных лент УКТЛ;
устройство контроля и информации УКИ;
устройство сигнализации и телефонной связи УС и др.
Приведём ниже краткую характеристику данных устройств.
Комплекс автоматизированного управления конвейерами АУК-1М предназначен для управления и контроля работы стационарных и полустационарных неразветвленных конвейерных линий, которые состоят из ленточных и скребковых конвейеров, эксплуатируемых в угольных шахтах, в том числе опасных по газу и пыли, при числе конвейеров в линии до десяти. Комплекс может применяться также для управления разветвленными конвейерными линиями с числом ответвлений до трех, причем каждое из ответвлений руководствуется как самостоятельная неразветвленная конвейерная линия. Комплекс выполняет 53 функции обеспечивая последовательный автоматический пуск конвейеров и остановку конвейерной линии из какой-нибудь точки по его длине, а также при сходе ленты; контроль скорости движения ленты и запуска конвейерной линии во времени; блокировку и сигнализацию о работе конвейерной линии. Данная аппаратура широко применяется на шахтах, выполняет все требования, предлагаемые к локальным средствам автоматизации конвейерных линий, и зарекомендовала себя как надежная аппаратура. [5]. Структурная схема аппаратуры приведена на рис.3.

Рисунок 1 – Структурная схема аппаратуры АУК.1М
Целесообразным считаем в качестве базовой аппаратуры принять АУК-1М, которая позволяет решить большинство проблем связанных с автоматизацией работы конвейерних линий. Следовательно работу разрабатываемого устройства должны интегрировать с работой АУК-1М.
Ниже рассмотрим другие устройства контроля работы и защиты ленточных конвейеров, которые целесообразно употреблять вместе с АУК-1М.
Унифицированное устройство УКПС предназначено для контроля работы и защиты от перегрузок ленточных конвейеров с номинальными скоростями движения ленты от 1 до 5 м/с в шахтах, опасных по газу и пыли. Данное устройство применяется, как правило, для бремсберговых конвейеров и основной функцией является отключение привода конвейера при аварийных режимах работы, вызванных появлением проскальзывания ленты, равного 18 % или -7 % (знак "-" свидетельствует о том, что лента по скорости опережает приводной барабан, что характерно для бремсберговых конвейеров), снижением скорости ленты до 0,75 Vн привода до 0,88 Vн, превышением лентой скорости 1,08 Vн. Применение аппаратуры АУК.1М или АУК.2М не дает возможности контролировать проскальзывание конвейерной ленты, поэтому эти устройства необходимо использовать вместе. Работает вместе с датчиками скорости ДКС, БКВ и ДМ-2М [5].
Аппаратура УКПС контролирует величину проскальзывания ленты и при достижении данной величины определенного уровня дает команду на отключение конвеера. Управляющее действие на натяжную станцию генерируется только на начальной стадии проскальзывания и не генерируется при продолжении развития этого процесса. Это связано с тем, что существующие средства измерения не способны определять силу натяжения ленты в самом опасном ее участке, и, как следствие, не могут регулировать величину проскальзывания ленты.
Устройство УКИ предназначено для аварийного отключения конвейера при срабатывании кабель-тросовых выключателей или датчиков контроля схода ленты с автоматическим представлением на блоке индикации следующей информации: об отключенном выключателе и его номере; о наличии к. з. в линии связи выключателей и датчиков; об аварийном состоянии натяжения ленты; о номере поврежденного участка кабеля. Как правило, данное устройство применяется вместе с аппаратурой АУК на магистральных конвейерных линиях длиной свыше 1000 м, оборудованных автоматической натяжной станцией. Применение устройства УКИ позволит расширить информацию о состоянии средств контроля на конвейерном транспорте, функции телемеханики устройства по передаче номера выключателя, который сработал или датчика в линии аварийного отключения резко сократит время поиска неисправности и простоя конвеерной линии [5].
Устройство УСТ предназначено для обеспечения предупредительной, аварийной и кодовой звуковой сигнализации, а также для дуплексной телефонной связи с аппаратурой АУК или другими устройствами, расположенными вдоль шахтных конвейеров большой длины. Данное устройство также должно употребляться для автоматизации конвейерной линии [5].
Кроме того, очень распространенными являются электромеханические реле скорости и реле пробуксовки. Для получения информации о скорости ленты шахтных ленточных конвейеров в настоящее время используют тахогенераторный датчик ДКС и датчик бесконтактного контроля вращения БКВ. Электрические параметры датчика ДКС практически не отличаются от данных заменяемового тахогенераторного датчика скорости УПДС-2. Датчик БКВ выполнен на базе использования информационного сигнала в виде импульсной последовательности определенной частоты [5].
Поскольку одним из главных контролируемых параметров является температура привидного барабана ленточного конвейера, то целесообразным является рассмотреть существующие на данный момент решения температурных защит технологических установок.
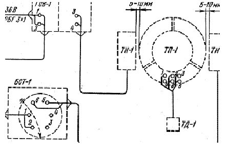
Аппаратура контроля температуры приводных барабанов АКТЛ - 1 на сегодняшний день является единственной в данном роде [6], [7]. Аппаратура предназначена для контроля обечайки нефутерованого приводного барабана ленточного конвейера с целью защиты ленты от загорания при пробуксовке. Контроль осуществляется как в процессе вращения так и при неподвижном состоянии барабана.
В состав аппаратуры АКТЛ-1 входят стабилизированный источник питания, высокочастотный генератор сигналов, термодатчик, узел приема - передачи сигналов и блок сигнализации. Схема внешних соединений аппаратуры приведена на риснке 2.

Рисунок 2 – Схема внешних соединений аппаратуры АКТЛ-1
Данным вопросом на нашей кафедре занимались Лукьяненко С.А., Кулиш В.А., Жиляев А.В., Кремешная А.А..
3 ЗАКЛЮЧИТЕЛЬНАЯ ИНФОРМАЦИЯ
Объектом исследования является магистральная конвейерная линия, которая состоит из двух и больше конвейеров (рис.3).

Рисунок 3 - Магистральная конвейерная линия
Для транспортировки горной массы по капитальным (главным) горизонтальным (1) и наклонных выработок (уклонов(2), бренсбергив(3)) и наклонным стволам шахт выпускаются стационарные ленточные конвейеры с лентой шириной 1000 и 1200 мм, созданные в соответствии с типоразмерным рядом.
Это конвейеры большой производительности, мощность привода которых может быть от 500 до 1000 квт, ширина ленты составляет 1000 и 1200 мм Конструктивно от участковых конвейеров отличаются тем, что натяжное устройство ленты в них расположено в конце конвейера. В приводах конвейеров применяются асинхронные двигатели как с короткозамкненим так и с фазным ротором. Конвейеры предназначены для эксплуатации в выработках угольных и сланцевых шахт с углом установки от -3 к +18 0, то есть могут устанавливаться в горизонтальных и уклонных выработках. Именно на этих конвейерах зарегистрировано большое количество пожаров [3].
Главной причиной возникновения пожара конвейера являются пробуксовка ленты конвейера, которое вызывает ее трение, следовательно одним из контролируемых параметром должна быть именно пробуксовка. Пробуксовка ленты может быть в результате выработки футеровки приводных барабанов и при недостаточном натяжении ленты, когда образуется ее «слабина». При пробуксовке теряется механическая связь ленты с барабаном, движение ленты может остановиться, тогда как барабан продолжает вращаться, интенсивно стирая поверхность ленты с образованием мелкодисперсных фракций. Эти фракции и пыль оседают внизу барабана, которые от трения нагреваются. Происходит нагревание мелкодисперсных частиц, что вызывает в начальной стадии тление, а затем и загорание при температуре 100-150 0С. Следовательно, также необходимо контролировать и температуру нагрева привидного барабана. Контролируемый диапазон измерения данного параметру должен составлять 20-90 0С [4].
Таким образом, разрабатываемая система должна отвечать следующим требованиям:
контролировать температуру приводного барабана ленточного конвейера;
контролировать пробуксовку ленты конвейера;
осуществлять соответствующие отключения и блокировки работы конвейера при возникновении опасности пожара;
осуществлять соответствующие сигнализацию и индикацию температурного режима конвейера;
интегрировать работу устройства с работой базовой аппаратуры автоматизации.

Рисунок 4 - Возгорание шахтного ленточного конвейера при пробуксовке барабана
(10 кадров, 10 циклов повторения)
ВЫВОДЫ
В результате данной работы была рассмотрена краткая характеристика возникновения пожаров на конвейерных линиях, конвейерный транспорт как объект автоматизации. Проведен анализ аппаратур автоматизации конвейерных линий и аппаратур тепловой защиты ленточных конвейеров.
Произведен обзор существующих решений по решению данного вопроса, в основе которого лежит постоянный дистанционный контроль температуры приводного барабана конвейера, как места опаснейшего с точки зрения пожара и регулирование усилия натяжения ленты натяжной станцией для предотвращения данной опасности.
В дальнейшем данную систему необходимо разработать на основе программируемого микроконтроллера, так как она есть достаточно гибкая и существует возможность добавлять к ней новые функции и подключать разные датчики. Это устройство автоматизации будет работать в комплексе с базовой аппаратурой автоматизации АУК-1М.
ПЕРЕЧЕНЬ ССЫЛОК
1.Борьба с пожарами на ленточных конвейерах в шахтах. – М.: Углетехихдат, 1959
2.Автоматизация произвoдственных процессов и АСУТП в горной промышленности. В.А. Батицкий и др. – М.: Недра, 1991
3.Справочник по автоматизации шахтного конвейерного транспорта/ Стадник Н.И. и др. – К.: Техника, 1992
4.Взрывопожаробезопасность горного оборудования/ С.П. Ткачу, В.П. к – К.: 2000
5.Поскачей А.А. Оптико-электронные системы измерения температуры . – М.: Энергоатомиздат, 1991
6.Руководство по ревизии, наладке и испытанию ленточных конвейеров и конвейерных линий угольных и сланцевых шахт. М.С. Глухов и др. – М.: Недра, 1983
7.Эксплуатация шахтных магистральных конвейеров. В.А. Чуланов и др. – М.: Недра, 1985
| Перечень ссылок | Электронная библиотека | ДонНТУ | Портал магистров ДонНТУ | Индивидуальное задание | Автобиография |